Monday – Friday 10 AM – 7 PM

Ultipleat® PK Gas Filter

The Ultipleat PK CDA filter is designed for clean dry air and nitrogen applications in the LCD and semiconductor industries.  It is rated for flows up to 10,000 SLPM (353 SCFM)

Product Features

  • Unique Ultipleat filter construction
  • Single open-ended cartridge with o-ring seal
  • High particle retention
  • Exceptionally high flow rates
  • Low differential pressure
  • 100% integrity tested

Product Benefits

  • Ultipleat filter construction allows for high-flows at the point-of-use (POU) where space is limited.
  • Compact design enables efficient filter changeouts, thereby reducing equipment downtime.

Specifications

Materials
  • Medium: PTFE
  • Support: Polypropylene
  • Cage and end caps: Polypropylene
  • O-ring: EPR
Removal Rating
  • ≥ 3 nm in gas service
Typical Filter Area
  • 1.8 m2/19.4 ft2
Operating Conditions

Maximum operating temperature

  • 50°C/122°F

Maximum differential pressure

  • 0.41 MPa @ 20°C/60 psid @ 68°F
  • 0.20 MPa @ 50°C/30 psid @ 122°F
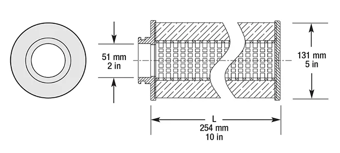
Dimensions

Performance

Pressure Drop vs. Air Flow Rate

1 For .25 in. connections

Additional Information

Filter Housings

Ultipleat PK gas stainless steel filter housings are available in a wide variety of connection sizes and types, surface finishes, and code requirements to meet your specific needs. Please contact your local Pall representative to discuss the appropriate housing for your application.

Ordering Information

Part Number Nominal Length Seal
UPK510FGJU 254 mm / 10 in. EPR (U-cup)

Get In Touch

Please fill out the form below with your details and message, and we'll get back to you as soon as possible.

Name*
Phone
Email*
Company*
Your Question*
I would like to receive more information about ABLROOTS INDUSTRIES products and services, and related product and services from ABLROOTS INDUSTRIES related companies via email or phone.

More Products

ChamberKleen™ Diffusers

Product Type: Filter Capsules

Segment: Photovoltaics, Semiconductor

View Details Add to Quote

Emflon® PF Filter (Gas Filtration)

Product Type: Filter Capsules

Segment: Photovoltaics, Semiconductor

View Details Add to Quote

Gasket-Sert™ PSP Filter

Product Type: Filter Capsules

Segment: Photovoltaics, Semiconductor

View Details Add to Quote