Monday – Friday 10 AM – 7 PM

Microza Hollow Fiber UNA Modules

The UNA Series (hollow fiber filtration) modules are designed for reverse osmosis (RO) pretreatment applications. AriaSM systems incorporating UNA modules can replace conventional upstream operations such as flocculation, settling and granular media filtration. The modules provide consistent high-quality effluent, independent of incoming raw water quality without the use of coagulating chemicals, typically achieving a SDI of < 2 - 3 and a turbidity of < 0.08 NTU. These robust Aria systems have a comparatively small footprint, are modular in design, and are fully automated. They may be easily incorporated into the existing DI water infrastructure.

Microza* UNA Module Features

  • Hollow fiber construction with 0.1 μm rated membrane for removal of particles, bacteria, colloidal silica and for reduction of turbidity.
  • PVDF membrane resistant to oxidizing agents.
  • Filtration from outside fiber to inside of fiber:
    • Large surface area per module for excellent throughput, resulting in compact systems, and exceptional tolerance for high contaminant levels.
    • Removal of foulants by unique and periodic air-scouring combined with permeate back flushing.
    • Minimum prefiltration required (e.g., 400 μm self-cleaning strainers for removal of tramp solids).
  • Low operating costs
    • By providing high quality RO prefiltration, the time between RO membrane cleaning is greatly extended. This results in reduced downtime and chemical/disposal costs.
    • High water recovery rates (typically up to 95%-98%) minimize cost per volume of water produced.

*Microza is a trademark of Asahi Kasei Corporation.

Applications

Microza UNA module systems are designed to optimize the performance and extend the life of RO membranes.

Additional Information

Operating Parameters

Performance2
  • Process Capacity Typical Range: 2.2-6.8 m3/h / 10-30 gpm
Dimensions
  • Membrane Area: 50 m2 / 538 ft2
  • Module Length: 2160 mm / 85 in.
  • Module Diameter: 165 mm / 6.5 in.
Operating Conditions
  • Maximum Operating Temperature: 40 °C / 104 °F
  • Maximum Transmembrane Pressure: 3 bar / 45 psi
  • Maximum Inlet Pressure: 3 bar / 45 psi
  • pH Range: 1-10
Materials
  • Membrane: PVDF
  • Housing: ABS
  • Potting Material: Polyurethane
  • Gaskets: Silicone
  • Preservative: 40% calcium chloride

2 Please contact Pall Corporation for operating manual and system sizing, as capacity per module is dependent on feed water quality, temperature and other factors.

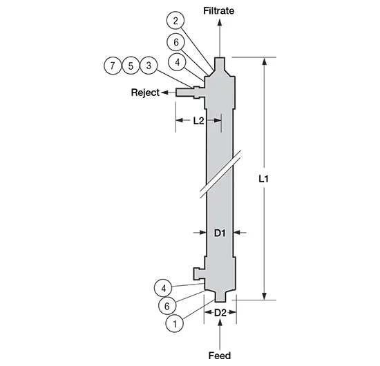
Dimensions

Ordering Information / Part Numbers

Module

Module
Part Number
Length (L1)
mm / in.
Length (L2)
mm / in.
Diameter (D1)
mm / in.
Diameter (D2)
mm / in.
UNA-620A 2364 / 93 272 / 10.7 165 / 6.5 221 / 8.7

Accessories and Spare Parts

Item 1
Adapter
Feed
Connection
2
Adapter
Permeate
Connection
3
Adapter
Reject
Connection
4
Cap Nut
Feed &
Permeate
Connections
5
Nut
Reject
Connection
6
O-ring for
Feed &
Permeate
Adapter
7
Gasket
Reject
Connection
Material 304 SS PVC PVC AS (20% GF) PVC Silicone Silicone

Note: The information provided in this literature was reviewed for accuracy at the time of publication. Product specifications may be subject to change without notice. For current information, consult your local Pall distributor or contact Pall Microelectronics directly.

Unit conversion: 1 bar = 100 kilopascals

Get In Touch

Please fill out the form below with your details and message, and we'll get back to you as soon as possible.

Name*
Phone
Email*
Company*
Your Question*
I would like to receive more information about ABLROOTS INDUSTRIES products and services, and related product and services from ABLROOTS INDUSTRIES related companies via email or phone.

More Products

Microza1 Ultrafiltration Modules OAT Series

Product Type: TFF Cassettes and Modules

Segment: Semiconductor

View Details Add to Quote

Microza UF Modules, OLT Series

Product Type: TFF Cassettes and Modules

Segment: Photovoltaics, Semiconductor

View Details Add to Quote

Asymmetric P-Nylon Filter

Product Type: TFF Cassettes and Modules

Segment: Semiconductor

View Details Add to Quote